क्यू आर संहिता
हमारे बारे में
उत्पादों
संपर्क करें


फैक्स
+86-574-87168065


पता
लुओटुओ औद्योगिक क्षेत्र, झेनहाई जिला, निंगबो शहर, चीन
यदि आप भारी मशीनरी चला रहे हैं - जैसे स्टील रोलिंग मिल जो पूरी तरह से धातु निकालती है, टनों सामग्री उठाने वाली क्रेनें, या खनन गियर जो धूल और दबाव से भूमिगत रूप से लड़ता है - तो आपको एक युग्मन की आवश्यकता होती है जो आपको निराश नहीं करेगी। यह बिल्कुल वैसा ही है जिसके लिए रेडाफॉन का एसडब्ल्यूसी-बीएच स्टैंडर्ड फ्लेक्स वेल्डिंग टाइप यूनिवर्सल कपलिंग बनाया गया है: विश्वसनीय टॉर्क ट्रांसमिशन, तब भी जब काम खराब हो जाता है।
सबसे पहले बात करते हैं इसके डिजाइन की। वेल्डेड योक सिर्फ एक विशेषता नहीं है - यह एक गेम-चेंजर है। Unlike bolted yokes that can loosen up over time, this one’s welded solid, so there’s no risk of parts shaking loose when your machinery’s working hard. और यह 180 मिमी से 620 मिमी तक के घुमाव व्यास के साथ सेटअप की एक श्रृंखला में भी फिट बैठता है - एक आकार-फिट-कोई नहीं विकल्प की तलाश करने की आवश्यकता नहीं है। As a standard flex universal coupling, it handles up to 15 degrees of angular misalignment, which means if your shafts aren’t perfectly lined up (and let’s be real, they rarely are), it still keeps power moving. यहां तक कि जब टॉर्क 1250 kN·m तक पहुंचता है - गंभीर शक्ति - यह स्थिर रहता है, कोई रुकावट नहीं, कोई गिरावट नहीं।
हमने सामग्री पर भी कोई कंजूसी नहीं की। यह चीज़ 35CrMo स्टील से बनी है - उच्च शक्ति वाली सामग्री जो घिसाव का प्रतिरोध करती है, तब भी जब यह किसी खदान में इधर-उधर टकरा रही हो या रोलिंग मिल के पास गर्म हो रही हो। इसके अलावा, हम सटीक सुई बीयरिंग लगाते हैं, इसलिए यह आसानी से चलती है, घर्षण को कम करती है, और सस्ते कपलिंग की तुलना में अधिक समय तक चलती है। यही कारण है कि यह भारी मशीनरी के लिए सार्वभौमिक कपलिंग के लिए उपयुक्त है - यह केवल कुछ हफ्तों के लिए काम नहीं करता है; यह आपके उपकरण को चालू रखते हुए चारों ओर चिपक जाता है। और यदि आपको औद्योगिक अनुप्रयोगों के लिए वेल्डेड यूनिवर्सल कपलिंग की आवश्यकता है? यह बात है- वेल्डेड डिज़ाइन बोल्ट वाले विकल्पों की तुलना में कंपन और तनाव को बेहतर ढंग से संभालता है, इसलिए आप फिक्सिंग में कम समय और काम करने में अधिक समय खर्च करते हैं।
रेडाफॉन में, हम इन्हें चीन में बनाते हैं, लेकिन हम गुणवत्ता में कोई कटौती नहीं करते हैं। हर कदम आईएसओ 9001 मानकों का पालन करता है - हम स्टील की जांच करते हैं, हम वेल्ड का निरीक्षण करते हैं, हम बीयरिंग का परीक्षण करते हैं - ताकि आप जान सकें कि आपको एक कपलिंग मिल रही है जो वैश्विक गुणवत्ता नियमों को पूरा करती है। And if your setup is a little different? हम कस्टम बदलाव करते हैं—आकार समायोजित करते हैं, विशिष्टताओं में बदलाव करते हैं—जो भी आपको इसे फिट बनाने के लिए चाहिए। सबसे अच्छा हिस्सा? It’s not priced like a luxury part. आपको एक टिकाऊ सार्वभौमिक युग्मन मिलता है जो बहुत अधिक भुगतान किए बिना कड़ी मेहनत करता है। जो कोई भी डाउनटाइम बर्दाश्त नहीं कर सकता, उसके लिए यह एसडब्ल्यूसी-बीएच कपलिंग एक विश्वसनीय टुकड़ा है जो आपकी मशीनरी को दिन-ब-दिन चालू रखता है।
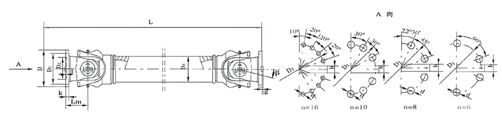
| नहीं। | परिभ्रमण व्यास डी मिमी | नाममात्र का टॉर्क तमिलनाडु केएन·एम | अक्षों का मोड़ कोण β (°) | थका हुआ टॉर्क टी.एफ केएन·एम | आकार (मिमी) | घूमती हुई जड़ता किग्रा.एम2 | वजन (किलो) | |||||||||||
| लमिन | डी1 (जेएस11) | डी2 (H7) | डी3 | एलएम | रा | k | t | b (एच9) | g | लमिन | बढ़ोतरी 100 मिमी | लमिन | बढ़ोतरी 100 मिमी | |||||
| SWC100WH | 100 | 1.25 | 0.63 | 25° | 243 | 84 | 57 | 60 | 55 | 6-9 | 7 | 2.5 | - | - | 0.0039 | 0.00019 | 4.5 | 0.35 |
| SWC120WH | 120 | 2.5 | 1.25 | 25° | 307 | 102 | 75 | 70 | 65 | 8-11 | 8 | 2.5 | - | - | 0.0096 | 0.00044 | 7.7 | 0.55 |
| SWC150WH | 150 | 5 | 25 | 25° | 350 | 130 | 90 | 89 | 80 | 8-13 | 10 | 3 | - | - | 0.371 | 0.00157 | 18 | 24.5 |
| SWC180WH | 180 | 12.5 | 6.3 | 25° | 180 | 155 | 105 | 114 | 110 | 8-17 | 17 | 5 | - | - | 0.15 | 0.007 | 48 | 2.8 |
| SWC225WH | 225 | 40 | 20 | 15° | 520 | 196 | 135 | 152 | 120 | 8-17 | 20 | 5 | 32 | 9 | 0.365 | 0.0234 | 78 | 4.9 |
| SWC250WH | 250 | 63 | 31.5 | 15° | 620 | 218 | 150 | 168 | 140 | 8-19 | 25 | 6 | 40 | 12.5 | 0.817 | 0.0277 | 124 | 5.3 |
| SWC285WH | 285 | 90 | 45 | 15° | 720 | 245 | 170 | 194 | 160 | 8-21 | 27 | 7 | 40 | 15 | 1.756 | 0.051 | 185 | 6.3 |
| SWC315WH | 315 | 125 | 63 | 15° | 805 | 280 | 185 | 219 | 219 | 10-23 | 32 | 8 | 40 | 15 | 2.893 | 0.0795 | 262 | 8 |
| SWC350WH | 350 | 180 | 90 | 15° | 875 | 310 | 210 | 267 | 194 | 10-23 | 35 | 8 | 50 | 16 | 5.013 | 0.2219 | 374 | 15 |
| SWC390WH | 390 | 250 | 125 | 15° | 955 | 345 | 235 | 267 | 215 | 10-25 | 40 | 8 | 70 | 18 | 8.406 | 0.2219 | 506 | 15 |
| SWC440WH | 440 | 355 | 180 | 15° | 1155 | 390 | 255 | 325 | 260 | 16-28 | 42 | 10 | 80 | 20 | 15.79 | 0.4744 | 790 | 21.7 |
| SWC490WH | 490 | 500 | 250 | 15° | 1205 | 435 | 275 | 325 | 270 | 16-31 | 47 | 12 | 90 | 22.5 | 26.54 | 0.4744 | 1014 | 21.7 |
| SWC550WH | 550 | 710 | 355 | 15° | 1355 | 492 | 320 | 426 | 325 | 16-31 | 50 | 12 | 100 | 22.5 | 48.32 | 1.357 | 1526 | 34 |
यदि आप उधम मचाते कपलिंग से निपटने से थक गए हैं जो आपके काम को धीमा कर देते हैं या जब आपको उनकी सबसे अधिक आवश्यकता होती है तो टूट जाते हैं, तो रेडाफॉन का एसडब्ल्यूसी-डब्ल्यूएच विदाउट फ्लेक्स वेल्डिंग टाइप यूनिवर्सल कपलिंग एक गेम-चेंजर है। यह उन सुविधाओं से भरपूर है जो इसे यांत्रिक प्रणालियों में सुचारू टॉर्क ट्रांसमिशन की आवश्यकता वाले किसी भी व्यक्ति के लिए एक शीर्ष पसंद बनाती है - कोई भ्रमित करने वाला वेल्डिंग चरण नहीं, बस ठोस प्रदर्शन जो आपके वर्कफ़्लो में सही बैठता है।
सबसे पहले, इस चीज़ को स्थापित करना आपके विचार से कहीं अधिक आसान है। वेल्डेड कपलिंग के विपरीत, जो आपको अतिरिक्त उपकरण लाने या वेल्ड के सेट होने की प्रतीक्षा करने के लिए मजबूर करता है, एसडब्ल्यूसी-डब्ल्यूएच बोल्ट-ऑन डिज़ाइन का उपयोग करता है। आप इसे अपने मौजूदा सेटअप में तेजी से स्लॉट कर सकते हैं, और रखरखाव का समय कब है? इसे अलग करना बहुत आसान है, इसलिए आपका औद्योगिक गियर बेकार में कम समय बिताता है। यही कारण है कि यह एक बेहतरीन बहुमुखी उच्च-टोक़ सार्वभौमिक संयुक्त युग्मन है - कोई डाउनटाइम सिरदर्द नहीं, बस अंदर आएं, आपको जो चाहिए उसे ठीक करें, और काम पर वापस आ जाएं।
Durability-wise, it’s built to tough it out. हम हेवी-ड्यूटी सामग्रियों का उपयोग करते हैं जो बड़े भार और निरंतर कंपन को बिना हिलाए संभाल लेते हैं - व्यस्त औद्योगिक स्थानों के लिए बिल्कुल सही जहां उपकरण वास्तव में कभी भी ब्रेक नहीं लेते हैं। और चूंकि कोई वेल्डिंग नहीं है, इसलिए आपको उन कमजोर स्थानों के बारे में चिंता करने की ज़रूरत नहीं है जो समय के साथ वेल्ड खराब होने पर उभर आते हैं। यह ऐसा कपलिंग नहीं है जिसे हर कुछ महीनों में बदलने की आवश्यकता होगी; यह औद्योगिक मशीनरी के लिए एक विश्वसनीय सार्वभौमिक संयुक्त युग्मन है जो आपके संचालन को स्थिर रखते हुए चिपक जाता है।
गलत संरेखण? कोई बात नहीं। शाफ्ट कभी भी पूरी तरह से पंक्तिबद्ध नहीं रहते हैं, खासकर ऑटोमोटिव या परिवहन प्रणालियों में, लेकिन एसडब्ल्यूसी-डब्ल्यूएच एक पेशेवर की तरह कोणीय, अक्षीय और रेडियल विचलन को संभालता है। यह ड्राइव शाफ्ट यूनिवर्सल ज्वाइंट कपलिंग की तरह है जो संरेखण गड़बड़ होने पर भी बिजली को सुचारू रूप से चालू रखता है - कोई झटका नहीं, कोई गिरावट नहीं, बस लगातार प्रदर्शन।
और बात करते हैं लागत की। वेल्डिंग में अतिरिक्त श्रम और सामग्री शुल्क लगता है, लेकिन यह युग्मन वह सब छोड़ देता है। आपको बिना अधिक खर्च किए गुणवत्तापूर्ण उत्पाद मिलता है, जो किसी भी बजट के लिए एक बड़ी जीत है। यहां तक कि समुद्री सेटअप जैसे मुश्किल स्थानों में भी, जहां संक्षारण एक निरंतर खतरा है, यह एक विश्वसनीय समुद्री सार्वभौमिक संयुक्त युग्मन के रूप में बना रहता है - खारे पानी के खिलाफ कठोर, आपके बटुए के लिए आसान।
यदि आप नवीकरणीय ऊर्जा में हैं, तो यह युग्मन भी सही बैठता है। यह नवीकरणीय ऊर्जा उपकरणों के लिए एक ठोस सार्वभौमिक संयुक्त युग्मन है जो बमुश्किल किसी भी अपशिष्ट के साथ बिजली को कुशलतापूर्वक संचालित करता है। इसके अलावा, यह हल्का है, इसलिए यह आपके सिस्टम पर बोझ नहीं डालता है - प्रदर्शन से समझौता किए बिना चीजों को लगातार चालू रखने के लिए बढ़िया है।
रेडाफॉन में, हम सिर्फ कपलिंग नहीं बेचते हैं - हम ऐसे कपलिंग बनाते हैं जो आपकी आवश्यकताओं के अनुरूप हों। SWC-WH अनुकूलन योग्य है, इसलिए यह बिल्कुल वैसे ही काम करता है जैसा आप चाहते हैं। यदि आप जानना चाहते हैं कि यह आपके संचालन को कैसे आसान बना सकता है, तो बस हमारी टीम से संपर्क करें। हम आपको इसके बारे में बताएंगे, कोई शब्दजाल नहीं - बस सीधे बात करें कि यह युग्मन आपके लिए क्या कर सकता है।
Raydafon’s SWC-WH Without Flex Welding Type Universal Coupling works off the basic know-how of cardan joint mechanics—but we’ve tweaked it to hit harder for industrial jobs. पूरी बात? दो शाफ्टों के बीच टॉर्क को सुचारू रूप से चलाना प्राप्त करें जो पूरी तरह से पंक्तिबद्ध नहीं हैं, भले ही वे एक कोण पर हों। As a purpose-built SWC cardan shaft universal joint coupling, it uses a cross-shaped piece in the middle to keep rotational power flowing steady—exactly why it’s such a go-to high-torque universal joint coupling for tough work like rolling mills or hoisting machinery.
आइए इसके मूल को तोड़ें कि यह कैसे काम करता है: दो कांटेदार योक हैं, और वे एक केंद्रीय क्रॉस से जुड़े हुए हैं (हम इसे मकड़ी कहते हैं)। यह सेटअप योक को कई दिशाओं में घूमने देता है - इसलिए भले ही शाफ्ट 25° तक ऑफसेट हो (यह इसका अधिकतम अक्ष मोड़ कोण है), टॉर्क अभी भी समान रूप से पारित हो जाता है। इसका समर्थन करने के लिए इसमें विशिष्टताएँ भी हैं: परिभ्रमण व्यास φ58 से φ620 तक होता है, और यह 0.15 से 1000 kN·m तक नाममात्र टॉर्क को संभालता है। जब आप इसे रोलिंग मिल संचालन के लिए हेवी-ड्यूटी यूनिवर्सल जॉइंट कपलिंग के रूप में उपयोग कर रहे हैं, तो इस डिज़ाइन का मतलब है कि इनपुट रोटेशन बिना किसी रुकावट के आउटपुट गति में बदल जाता है - वे जोड़ जोड़ बिना किसी रुकावट के गलत संरेखण के लिए अपने आप घूमते हैं।
What makes the “without flex welding” part matter? We swapped out welds for bolted or clamped connections. Welds can be weak spots over time, but these fasteners cut down on failure risks—and they make putting the coupling together way easier, too. इस औद्योगिक सार्वभौमिक संयुक्त युग्मन में एक उन्नत फोर्क हेड डिज़ाइन भी है जो बोल्ट को ढीला होने से रोकता है, जिससे इसकी संरचनात्मक ताकत 30% -50% बढ़ जाती है। खदानों या निर्माण स्थलों जैसे मांग वाले स्थानों के लिए यह एक बड़ी बात है, जहां यह एक टिकाऊ एसडब्ल्यूसी यूनिवर्सल ज्वाइंट शाफ्ट कपलिंग के रूप में कार्य करता है - भारी भार के तहत बिना रुके टिके रहता है।
दक्षता यहां एक और जीत है: यह 98.6% ट्रांसमिशन दक्षता तक पहुंचती है। हमने घर्षण और ऊर्जा बर्बादी को कम करने के लिए हर हिस्से को इंजीनियर किया है - इसलिए इसमें कोई आश्चर्य की बात नहीं है कि यह उच्च-शक्ति औद्योगिक सेटअप में बड़े बिजली ट्रांसमिशन के लिए एक कुशल सार्वभौमिक संयुक्त युग्मन है। और यह शांत चलता है: आमतौर पर 30-40 डीबी(ए)। यह संतुलित रोटेशन और अंतर्निहित कंपन डंपिंग के लिए धन्यवाद है - जो इसे उन स्थानों के लिए कम शोर वाला सार्वभौमिक संयुक्त युग्मन बनाता है जहां शोर एक समस्या है। साथ ही, यह ऊर्जा लागत को कम रखता है, इसलिए यह ऊर्जा-बचत करने वाली सार्वभौमिक संयुक्त युग्मन आवश्यकताओं के लिए भी बॉक्स को चेक करता है।
भारी मशीनरी सार्वभौमिक संयुक्त युग्मन प्रणालियों में, यह सबसे अधिक मायने रखता है: एसडब्ल्यूसी-डब्ल्यूएच अपने सभी हिस्सों में बलों को समान रूप से फैलाता है। कोई भी टुकड़ा बहुत अधिक दबाव नहीं झेलता, जिसका अर्थ है कम टूटना और लंबा जीवन। रेडाफॉन में, हम केवल विशिष्टताओं को पूरा करने के लिए इस कपलिंग का निर्माण नहीं करते हैं - हम इसे आपके काम के लिए तैयार करते हैं, चाहे वह मजबूत भारी मशीनरी हो या विशेष औद्योगिक सेटअप हो। यदि आप अपने सिस्टम को सुचारू रूप से चलाने या लंबे समय तक चलने के लिए इसमें बदलाव करना चाहते हैं, तो बस हमारी टीम से बात करें- हम आपको एक ऐसा सेटअप प्राप्त करने में मदद करेंगे जो आपकी आवश्यकता के अनुरूप हो।
⭐⭐⭐⭐⭐ झांग वेई, मैकेनिकल इंजीनियर, बीजिंग इंडस्ट्रियल मशीनरी कंपनी लिमिटेड।
पिछले कुछ महीनों से हमारे उत्पादन उपकरण में Raydafon का SWC-WH विदाउट फ्लेक्स वेल्डिंग टाइप यूनिवर्सल कपलिंग है, और यह लगातार अच्छा प्रदर्शन कर रहा है - खासकर जब हम अपनी मशीनों को उच्च भार संभालने के लिए मजबूर कर रहे हैं। मैं वास्तव में इसकी मजबूत संरचना की सराहना करता हूं: यहां तक कि उन लंबे, मांग वाले बदलावों पर भी जहां अन्य हिस्से लड़खड़ाना शुरू कर सकते हैं, यह युग्मन चीजों को सुचारू रखता है - कोई यादृच्छिक कंपन नहीं, कोई अचानक विफलता नहीं जो हमारी पूरी लाइन को खराब कर देती है।
इंस्टालेशन भी बहुत आसान था. हमारी टीम को जटिल कदम उठाने में घंटों खर्च करने की ज़रूरत नहीं पड़ी; हमने इसे जल्दी से स्थापित कर लिया और उसके बाद से इसमें कोई बदलाव नहीं करना पड़ा। हमारे जैसे हेवी-ड्यूटी गियर के लिए, विश्वसनीयता और गुणवत्ता पर समझौता नहीं किया जा सकता है, और यह युग्मन दोनों बक्से की जांच करता है। रेडाफॉन ने साबित कर दिया है कि वे एक भागीदार हैं जिस पर हम यहां भरोसा कर सकते हैं-हम वास्तव में इस उत्पाद की स्थिति से खुश हैं।
⭐⭐⭐⭐⭐ जॉन स्मिथ, प्लांट मैनेजर, फ्लोरिडा मैन्युफैक्चरिंग, यूएसए
मैंने कुछ महीने पहले हमारी फ्लोरिडा सुविधा में रेडाफॉन के एसडब्ल्यूसी-डब्ल्यूएच कपलिंग को उपयोग में लाया था, और यह बिल्कुल वही है जिसकी हमें आवश्यकता थी - सरल, बिना किसी झंझट के और लगातार प्रभावी। पावर ट्रांसमिशन स्थिर रहता है, जो हमारे उत्पादन को गति पर रखने के लिए महत्वपूर्ण है, और हमें रखरखाव के लिए इसे एक बार भी छूने की ज़रूरत नहीं है। यह हमारे लिए एक बड़ी जीत है; भागों को ठीक करने में कम समय लगने का अर्थ है काम पूरा करने में अधिक समय।
यहां तक कि जब हम अत्यधिक तनाव में मशीनों को जोर-जोर से चला रहे होते हैं, तब भी यह युग्मन हिलता नहीं है - यह बस चलता रहता है। स्थापना भी सीधी थी; हमारे तकनीकी विशेषज्ञों ने इसे कुछ ही समय में स्थापित कर दिया। और जब आप उस प्रदर्शन को उचित मूल्य के साथ जोड़ते हैं? यह एक ठोस मूल्य है. इसके अलावा, जब हमारे पास कोई त्वरित प्रश्न होता था, तो रेडाफॉन का ग्राहक समर्थन शीर्ष पायदान पर था - वे तेजी से हमारे पास वापस आ गए। इसमें कोई संदेह नहीं कि हम आगे भी उनके उत्पादों का उपयोग करते रहेंगे।
⭐⭐⭐⭐⭐ रॉबर्टो सिल्वा, संचालन निदेशक, साओ पाउलो इंजीनियरिंग सॉल्यूशंस, ब्राजील
हमने कुछ समय के लिए रेडाफॉन के साथ साझेदारी की है, लेकिन उनका एसडब्ल्यूसी-डब्ल्यूएच विदाउट फ्लेक्स कपलिंग वास्तव में हमारे परिचालन में उत्कृष्ट रहा है - इसने बार-बार अपनी उपयोगिता साबित की है। पहली चीज़ जिस पर आप ध्यान देते हैं, वह है इसकी ठोस संरचना; ऐसा लगता है कि यह लंबे समय तक चलने के लिए बनाया गया है, और यह हमारी मशीनरी पर विश्वसनीय प्रदर्शन का अनुवाद करता है।
इस कपलिंग पर स्विच करने से पहले, हम गलत संरेखण के मुद्दों और हमारे पुराने हिस्सों के समय से पहले घिसाव के कारण बार-बार खराब होने से जूझ रहे थे। अब? वे समस्याएँ दूर हो गई हैं। इसने हमारे डाउनटाइम को कम कर दिया है, जिससे उत्पादकता में भारी वृद्धि हुई है। और स्थापना? बहुत आसान—हमारी टीम ने समस्या निवारण सेटअप में समय बर्बाद नहीं किया। किसी भी कंपनी के लिए जिसे बिजली पारेषण भागों की आवश्यकता होती है जिस पर वे भरोसा कर सकते हैं, यह एक आसान काम है। मैं बिल्कुल इसकी अनुशंसा करूंगा।
⭐⭐⭐⭐⭐ पीटर मुलर, तकनीकी पर्यवेक्षक, स्टटगार्ट मैन्युफैक्चरिंग जीएमबीएच, जर्मनी
हम अपनी स्टटगार्ट उत्पादन सुविधा में छह महीने से अधिक समय से रायडाफॉन के एसडब्ल्यूसी-डब्ल्यूएच कपलिंग का उपयोग कर रहे हैं, और यह दोषरहित रहा है - गंभीरता से, पूरे समय एक भी समस्या नहीं हुई। इसका डिज़ाइन सीधा है, जो स्थापना को आसान बनाता है; हमारी टीम ने इसे फिट कर दिया और कुछ ही समय में काम के लिए तैयार हो गई, किसी जटिल कदम या विशेष उपकरण की आवश्यकता नहीं थी।
हालाँकि, जो चीज़ मुझे वास्तव में प्रभावित करती है, वह है गुणवत्ता। वेल्डिंग साफ और मजबूत है, और सामग्री उच्च श्रेणी की लगती है - आप बता सकते हैं कि उन्होंने कोनों को नहीं काटा है। यह नियमित उपयोग के तहत पूरी तरह से बरकरार रहता है, महीनों के निरंतर संचालन के बाद भी इसमें पहनने के कोई लक्षण नहीं दिखते हैं। हम इस उत्पाद के प्रदर्शन से बहुत खुश हैं और भविष्य की परियोजनाओं में उपयोग के लिए यह पहले से ही हमारी सूची में है।
पता
लुओटुओ औद्योगिक क्षेत्र, झेनहाई जिला, निंगबो शहर, चीन
टेलीफोन
ईमेल


+86-574-87168065


लुओटुओ औद्योगिक क्षेत्र, झेनहाई जिला, निंगबो शहर, चीन
कॉपीराइट © रेडाफॉन टेक्नोलॉजी ग्रुप कं, लिमिटेड सर्वाधिकार सुरक्षित।
Links | Sitemap | RSS | XML | Privacy Policy |
